Torno CNC tipo suizo Blin – Línea CSL075/6

Marca: Blin
BLIN CNC Machines

Caracerísticas:

Máx. diámetro torneable: Ø 7 mm
Máx. largo torneable: 120 mm
Velocidad husillo: 15.000 rpm (max), <12.000 rpm (regular)

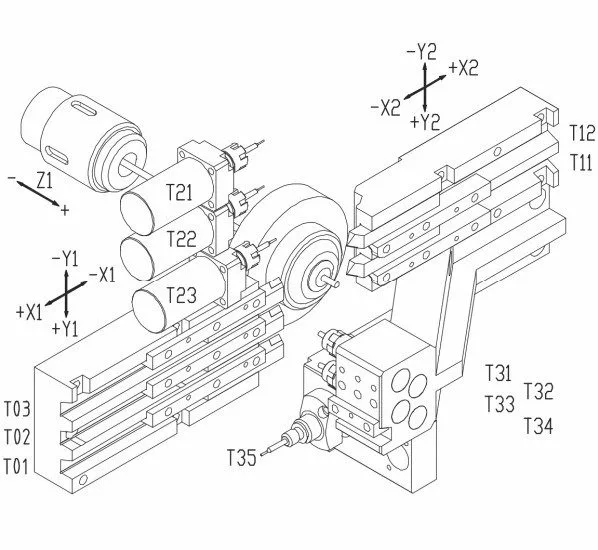
Cantidad de ejes: 6 (X1, Y1, Z1, X2, Y2, Z2*)
Cantidad herramientas: 20-24
Velocidad máxima herramientas motorizadas: 6.000 rpm
Potencia motor: 3,7 kW
Rpm sub husillo: 10.000 rpm.
Potencia motor sub husillo: 3,7 kW
Rápidos: 20/24 m/min
Precisión de reposicionamiento: <0.003 mm
CNC: FANUC

*Consultar compatbilidad de modelo

Consultanos:

Tu Nombre y Apellido:*
Tu Empresa:
Tu email: *
Teléfono*
Nro Celular o Whatsapp
Tu Consulta:*

Galería de Fotografías:

Scroll al inicio
CoTeAr - Soluciones Industriales

Dejanos tu consulta y te llamamos:

Tu Nombre y Apellido:*
Tu Empresa:
Nro Celular o Whatsapp *
Teléfono
Tu email: *
Breve descripción de la necesidad de tu empresa:*